アクアビュル UT3
最高濃度ウルトラファインバブル搭載
世界に誇れる最高級シャワーヘッド
こんなお悩みありませんか?
理想の美しさを追求するあなたへ。
アクアビュル UT3が、最高級の美容体験をお届けします。
美しい肌を目指したい
毎日のシャワーで、もっと美肌効果を実感したいと思いませんか?
ツヤのある髪が欲しい
髪のパサつきや傷みを改善して、サロン帰りのような髪を手に入れたくありませんか?
保温・保湿効果が欲しい
シャワー後の湯冷めや肌の乾燥に悩んでいませんか?
最高濃度のウルトラファインバブルで解決!
特許取得の独自技術により、最高濃度のウルトラファインバブルを実現。
毎日のシャワーが、最高級の美容タイムに変わります。
製品の特長
理想の美しさを兼ね備えた世界に誇れる最高級のシャワーヘッド
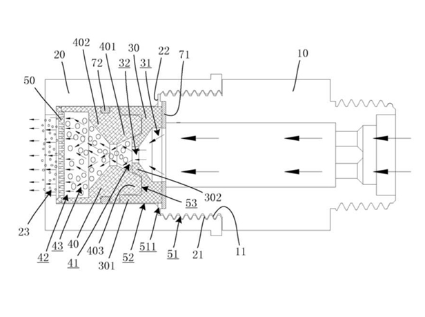
特許取得の発生装置
令和二年二月六日、特許取得、登録番号6663464。独自の技術で最高濃度のウルトラファインバブルを実現しました。
潤うツヤ髪
50μm以下の小さな泡が毛穴の奥から洗浄。健康的な頭皮がツヤ髪を育てます。シャンプーの使用量も減らせます。
生まれたての美肌
ファインバブルは皮脂や油分に反応し、体を強く擦らなくても汚れを浮かせて洗い流すのでキレイな素肌に。
乾燥肌対策の保湿力
ファインバブルは高い洗浄力で皮脂や油分を洗い流し、さらに通常より高い保湿力で乾燥肌の方にも喜んでいただけます。
冷え性予防の保温効果
冬のシャワー後は特に湯冷めしやすいもの。ファインバブルは血流促進効果で体を冷えにくくします。
美しいデザイン
他に類を見ないデザインと、その独創性を支えた開発テクノロジーが融合。世界に誇れる最高級シャワーヘッドです。
開発へのこだわり
従来のシャワーヘッドを絶対に超えたい…。それには幾つものハードルがありました。
主なのは、ファインバブル技術が如何に早く進化してより効果的なものになっても、形やバブルの実際効果が従来のものとの区別化や分別化がされにくいこと。
そこに違和感を感じ、使命感に駆られながら、とにかく「美しく」そして「効果的」にという理想にこだわりながら商品開発をしてきました。人体力学に基づいて、高度なデザイン技術とノウハウの応用、成形焼工程で発生する変形量を予測分析する技術、CTによる形状・寸法データの集積応用など…多方面で技術を駆使して、とにかく使いやすさと発生するバブル精度の両立を追求し続けてきました。
製品仕様
特許取得技術
令和二年二月六日、特許取得。登録番号6663464。
独自の発生装置により、最高濃度のウルトラファインバブルを実現しました。
限定カラー
数量限定の桜カラーもご用意しています。
美しいデザインと最高の機能性を兼ね備えた、特別なシャワーヘッドです。
信頼の証
「ファインバブル」、「ウルトラファインバブル」、「FINE BUBBLE」は、一般社団法人ファインバブル産業会の登録商標です。株式会社S.K.H.は、一般社団法人ファインバブル産業会の会員です。